Vonkajšie žalúzie Z90


Moderné, elegantné, atraktívne a funkčné tienenie.
Vonkajšie žalúzie sú najrozsiahlejším exteriérovým tieniacim prvkom. Umožňujú plynule regulovať prirodzené osvetlenie, zachytávajú priame slnečné žiarenie a chránia pred jeho škodlivými účinkami. Používajú sa nielen k zatieneniu okien moderne poňatých rodinných domov, ale aj administratívnych či komerčných budov. V prípade požiadavky na maximálnu zatemnenie použijeme lamelu typu "Z", kde je tento efekt takmer dokonalý. Z dlhodobého hľadiska je výhodnejšie ovládanie elektropohonom, ktoré zaručuje dlhšiu životnosť a umožňuje napojenie rôznych druhov ovládacej automatiky (veterné, slnečné, tepelné, časové). Súčasťou dodávky môžu byť aj horné krycie plechy, ktoré môžu byť skryté pod omietkou, alebo priznané.


Výhody vonkajších horizontálnych žalúzií Z90
Vonkajšie hliníkové horizontálne žalúzie majú čoraz rozsiahlejšie využitie v modernej architektúre, sú čím ďalej tým viac obľúbené medzi architektmi, projektantmi a investormi. Umožňujú reguláciu svetla, čím zvyšujú komfort a znižujú prehrievanie interiérov, zároveň v ideálnej polohe lamiel 45° vidieť von, ale dnu minimálne.
• elegantné, moderné a nadčasové riešenie
• dokonalé farebné zladenie
• farby podľa vzorkovníku RAL
• elektro pohon
• lamely typu Z90 (90mm)
• odolnosť voči vetru a poveternostným vplyvom
• regulácia osvetlenia
• možnosť pripojenia ovládacej automatiky

Vzory farebných prevedení lamiel vonkajších žalúzií
Predstavujeme vynikajúcu možnosť hliníkových vonkajších žalúzií. Vyberajte si farby podľa chuti, keďže máme v našom portfóliu aj tú farbu na, ktorú myslíte práve teraz.
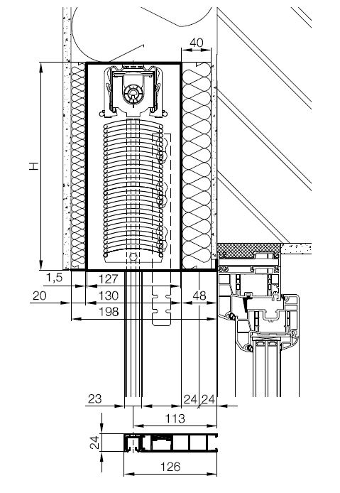
Rez cez konštrukciu samonosných vonkajších žalúzií
Samonosné exteriérové žalúzie sú plne integrované do izolácie a pod omietku, takto dosahujeme krásne detaily pri dotyku okenného rámu s vodiacimi lištami a boxom. Ideálna hrúbka izolácie je 200mm.





























